Method for detecting a boundary of a traffic lane

Abstract

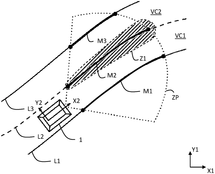
The method (P1) for detecting a boundary (L1, L2, L3) of a traffic lane (VC1, VC2) for a motor vehicle (1) involves detecting the boundary by a vehicle environment detection means, the boundary being defined by a function (typically polynomial), determining a plurality of first vectors characterizing the boundary based on map data and vehicle pose, determining a plurality of second vectors characterizing the boundary through orthogonal projection onto said function, and calculating Mahalanobis distances between each first and second vector.

Publication
Patent US20240426624A1
Federico Camarda
Federico Camarda
Senior Software Tech Lead, AD/ADAS Scene Understanding | PhD in Automation and Robotics

My work and research aim is to make vehicles smarter and safer.